Опалення - штучне підтримання в холодну погоду постійного заданого рівня температури повітря в закритих приміщеннях. Кількість тепла, що подається опалювальними приладами, має бути еквівалентно втратам тепла через зовнішні огородження приміщень і за рахунок вентиляції.
Опалення повинно забезпечити комфортний рівень температури повітря (див. Зона комфорту, Мікроклімат). Опалювальні прилади повинні забезпечити достатнє і рівномірне нагрівання повітря приміщень і не повинні забруднювати повітря продуктами горіння. Різниця температур в горизонтальному напрямку від вікон до внутрішніх стін не повинна перевищувати 2°, а по вертикалі - 1° на кожен метр висоти приміщення.
Температура нагрівальних поверхонь опалювальних приладів щоб уникнути пригорання осідаючого на них з повітря приміщень органічної пилу не повинна перевищувати 80°.
Нагрівальні поверхні повинні бути рівними і гладкими, легко очищающимися від забруднень. Експлуатація опалювальних приладів не повинна забруднювати приміщення. Місцеві опалювальні прилади повинні бути економічно вигідними та безпечними в пожежному відношенні.
Розрізняють опалення місцевими опалювальними приладами та системами центрального опалення. Конструкція печі місцевого опалення визначає її здатність акумулювати більшу або меншу кількість тепла (теплоємність). Для опалення приміщень житлових і громадських будівель слід застосовувати печі великої теплоємності.
Печі середньої теплоємності застосовуються для різних опалення приміщень тимчасового перебування людей.
Загальними недоліками пічного опалення є: нерівномірний розподіл температури в опалюваних приміщеннях, трудність регулювання тепловіддачі, забруднення приміщень паливом і можливість забруднення повітря приміщень продуктами горіння, в тому числі оксидом вуглецю.
Більшою мірою задовольняють гігієнічним вимогам системи центрального опалення, характеризуються тим, що підтримання необхідної температури в приміщеннях будівлі проводиться одним, центральним, генератором тепла, де відбувається спалювання палива або перетворення електричної енергії в теплову. Теплоносій (пар, вода, повітря) направляється в нагрівальні прилади або в приміщення з теплопроводів (трубопроводи чи канали).
![]() Рис. 1. Комбінована пароводяна система (схема): 1 - паровий котел; 2, 5,7 і 8 - трубопроводи; 3 - теплообмінник (котел); 4 - змійовик; 6 - нагрівальні прилади; 9 - розширювальний посудину. |
Відповідно до радіуса дії, розрізняють квартирні або будинкові системи центрального опалення. Останнім часом одержали широке застосування районне теплопостачання, має великий радіус дії, і теплофікація - теплопостачання від станцій, які виробляють тепло та електроенергію. Ці станції називають теплоелектроцентралями (ТЕЦ). Водяне опалення може бути високого або низького тиску. Внаслідок того, що температура нагрівальних поверхонь опалювальних приладів і систем водяного опалення високого тиску і парового опалення перевищує допустимі межі, ці системи використовуються тільки для опалення приміщень короткочасного перебування людей і деяких торгових та виробничих приміщень, хоча парове опалення більш вигідно в економічному відношенні. Часто застосовуються системи водяного опалення низького тиску, в яких пар використовується для нагрівання води в теплообмінниках (бойлерів) (рис. 1).
![]() Рис. 2. Повітряне опалення (схема): 1 - приймач зовнішнього повітря; 2 - калорифер; 3 - припливний канал; 4 - подача в приміщення; 5 - видалення повітря; 6 - витяжний канал; 7 - шахта. |
Повітряне опалення житлових та громадських будівель може застосовуватися за умови одночасного кондиціювання повітря та запобігання закидання повітря з одних приміщень в інші (рис. 2).
Найбільш задовольняє гігієнічним вимогам променисте (панельне) опалення, при якому нагрівальні пристрої закладаються в стіни чи міжповерхові перекриття.
Опалення. Температура повітря є одним з основних факторів у комплексі метеорологічних умов, що визначають теплообмін і теплове рівновагу організму і зовнішнього середовища, тому забезпечення теплового комфорту (див. Зона теплового комфорту) в житлових і громадських приміщеннях є важливою гігієнічною завданням.
Системи опалення будинків повинні відповідати наступним гігієнічним вимогам: 1) забезпечувати всередині приміщень стійку температуру повітря в залежності від клімату місцевості на рівні 17-22° (допускаються коливання не більш ±2° протягом доби); 2) сприяти рівномірному розподілу повітря в приміщеннях (коливання в горизонтальному напрямку допускаються не більш ±1°, підвищення температури у вертикальному напрямку на кожен метр висоти приміщення не більше 1,5°); 3) не псувати складу повітря у приміщеннях, наприклад внаслідок пригорання пилу на поверхні нагрівальних приладів (яке різко зростає при температурі вище 85°), а також виділення окису вуглецю та інших шкідливих і смердючих газів; 4) не допускати механічного забруднення приміщення паливом, попелом і т. д.; 5) бути легко доступними для догляду та очищення своїх основних елементів (генератор тепла, нагрівальні прилади, трубопроводи, канали повітряного опалення тощо). Перераховані гігієнічні показники систем в основному визначаються ступенем централізації, характером теплоносія (вода, пара, повітря) і видом теплової енергії, переданої нагрівальними приладами (конвекційне, променисте тепло).

Рис. 1. Пристрій багатооборотної опалювальної печі великої теплоємності.

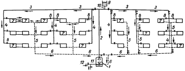
Рис. 2. Двотрубна схема центрального опалення з верхнім розподілом води: 1 - котел; 2 - головний стояк; 3 - розвідні магістралі; 4 і 5 - гарячі і зворотні стояки; 6 - зворотні магістралі; 7 - нагрівальні прилади; 8 - регулюючі крани; 9 - розширювальний бачок; 10 - труба для відводу повітря; 11 і 12 - водопровідні труби.
Системи місцевого опалення - пічні (рис. 1), а також електричні, газові - зручні і прості в обслуговуванні, однак мають ряд недоліків: нерівномірність температури повітря в приміщеннях протягом доби; наявність в опалювальному приміщенні негативною радіації, головним чином від зовнішніх стін і вікон; відносно висока температура на окремих ділянках поверхні нагрівальних приладів, що викликає пригорання пилу і погіршення складу повітря у приміщеннях; забруднення приміщень при використанні дров'яних печей паливом, золою, димом і пр.; трудність регулювання тепловіддачі нагрівальних поверхонь; небезпека виділення в окремих випадках шкідливих газів (наприклад, окису вуглецю в пічних системах). Крім того, багато хто з нагрівальних приладів місцевого опалення (металеві та малоемкие цегляні або керамиковые печі, електронагрівачі) вимагають безперервної роботи у зв'язку з малою теплоємністю.
![]() Рис. 3. Конвектор; праворуч - нагрівальний елемент конвектора. |
Центральні системи О. (водяні, пароводяні, повітряні, водо-променисті, повітряно-променисті і ін) володіють істотними перевагами: забезпечують у приміщеннях більш рівномірний тепловий режим, не забруднюються продуктами горіння палива і ін Найбільш поширені центральні водяні системи (рис. 2), які володіють кращими гігієнічними показниками, можуть обслуговувати окремі квартири, будинки і цілі райони. Температура води, що циркулює в цих системах, не перевищує 95°, що забезпечує на поверхні нагрівальних приладів - радіаторів, конвекторів (рис. 3) - температуру не вище 80-85°.
Застосування систем, в яких теплоносієм, що надходить у нагрівальні прилади, служить пар низького або середнього тиску (до 0,7 ат), допускається тільки в приміщеннях громадського призначення зважаючи високої температури (вище 100°) поверхні нагрівальних приладів.
![]() Рис. 4. Пластинчастий калорифер |
Останнім часом в житлових і громадських будівлях отримали поширення модернізовані системи повітряного опалення, в яких теплоносієм є нагріте в калориферах і зволожений зовнішнє повітря (рис. 4). Нагріту до 50-60° повітря надходить у верхню зону опалюваних приміщень по мережі каналів. Він одночасно виконує і функції припливного вентиляційного повітря, заміщаючи повітря, що видаляється витяжними центрами, розташованими в кухнях, санітарних вузлах і т. д. Рециркуляція повітря при цій системі не допускається з гігієнічних міркувань.
Всі зазначені системи в основному є конвекційними. У гігієнічному відношенні заслуговують великої уваги системи променистого О., в яких низькотемпературне променисте тепло становить 70-80% загальної кількості тепла, що виділяється. Промениста система опалення обумовлює інші умови мікроклімату (див.) в приміщеннях і надає на організм людини дію, відмінне від спостережуваного при конвекційної системи. Промениста енергія в певних межах надає вельми благотворний вплив на організм (загальностимулюючу дію, посилення обмінних процесів і т. д.). У цьому головним чином і полягає гігієнічний перевага системи променевого опалення. Нагрівальні прилади таких систем розташовуються на підлозі, під стелею або у внутрішніх або зовнішніх стін та мають помірну температуру на поверхні. При променистої системи опалення в приміщеннях зменшується негативна радіація від зовнішніх огороджень, що дозволяє забезпечити комфортні умови при більш низькій температурі повітря, ніж при конвекційних системах (наприклад, 17-18° замість 18-20° в житлових приміщеннях). Температура на поверхні панелей променистого О. в житлових приміщеннях приймається: для підлогових панелей 26-28°, для стельових 30-35°, для стінних 35-40° (в залежності від розташування), для підвіконних панелей 45-50°. Перевищення зазначених температур викликає тепловий дискомфорт.




