Інші служать тільки для з'єднання різних частин головного і спинного мозку між собою, їх називають вставочными, або з'єднувальними, нейронами. Третя група нервових клітин здійснює передачу сигналів від головного і спинного мозку до м'язів або залоз, вони називаються руховими. Вся інформація центральної нервової системи здійснюється за рахунок роботи аналізаторів, вчення про яких було створено В. П. Павловим.
Аналізатор являє собою тричленну систему, що складається з органів почуттів (рецепторів), чутливого нерва і нервових клітин у корі великих півкуль (центральне ланка аналізатора). Розрізняють зоровий, слуховий, нюховий, смаковий, руховий аналізатори (отримує імпульси від апарату, від органів апарату руху), аналізатор загальної чутливості, сприймає відчуття болю, температури і дотику (шкірний аналізатор), а також интероцептивный аналізатор, що сприймає імпульси (інформацію) від усіх внутрішніх органів.
Рецептор становить важливу частину аналізатора. Він приходить у стан збудження під впливом фізичного або хімічної енергії подразника. Рецептори строго спеціалізовані. Наприклад, рецептори очі сприймають тільки вплив світла, рецептори вуха - коливання звукових хвиль, а рецептори мови сприймають тільки вплив деяких хімічних речовин, розчинних у воді.
Всі рецептори можна розділити на дві великі групи: дистантные рецептори - їх дія збуджує енергія, джерело якої розташовується далеко від органу чуття (такі рецептори слухових і зорових відчуттів), та контактні рецептори, порушення яких відбувається при безпосередньому зіткненні е джерелом енергії, що впливає на них, наприклад рецептори, що сприймають температурні, больові, тактильні, смакові та інші відчуття. Дистантные рецептори - зоровий і слуховий - включені до складу таких складних приладів, як око і вухо, які вловлюють світло і звук і доставляють їх до відповідних сприймає клітинам. Контактні рецептори ніякими особливими пристроями не забезпечені і вільно розташовуються в шкірі, слизовій оболонці мови і т. д.
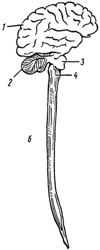
![]() Рис. 44. Центральна нервова система - головний мозок; б - спинний мозок. 1 - великі півкулі головного мозку; 2 - мозочок; 3 - варолієв міст; 4 - довгастий мозок. |
Анатомії та фізіології очі, вуха і інших аналізаторів присвячено багато популярних робіт, і ми не будемо зупинятися тут на описі їх. Зазначимо тільки, що нервові імпульси, що виникають у рецепторах від впливу хімічних або фізичних факторів, передаються далі через ланцюжок нервових клітин (нейронів) в кору великих півкуль. Тут є чітко окреслені ділянки, спеціалізовані на сприйнятті певних видів чутливості (зорова, слухова, нюхова та інші зони кори). Саме в корі відбувається аналіз і синтез чутливих імпульсів, в результаті чого виникають відчуття.
Все управління життям організму в самому широкому сенсі цього слова зосереджено в спинному і головному мозку. Обидва ці органи складають центральний відділ нервової системи (або, як кажуть, центральну нервову систему). Тут знаходиться велика частина нервових клітин. Сюди з усіх куточків» нашого тіла, від всіх його тканин і від органів почуттів безперервним потоком надходить численна і різноманітна інформація; звідси до всіх органів нашого тіла надсилаються сигнали, що регулюють їх роботу (рис. 44). Зв'язок центральної нервової системи з органами здійснюється за допомогою нервів, що відходять від спинного і головного мозку. Сукупність цих нервових стовбурів і їх численні розгалуження, сплетення і нервові вузли складають периферичний відділ нервової системи (див. рис. 41).
Органи центральної нервової системи складаються з дуже ніжної тканини, тому вони надійно захищені. Спинний мозок оточений трьома оболонками і укріплений зв'язками в хребетному каналі, а головний мозок вкритий такими самими оболонками і розміщується в кістковій коробці черепа, що володіє високою міцністю.

