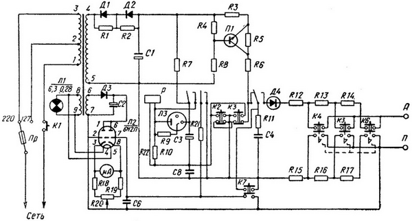
Для визначення збудливості зубів нами було розроблено електродіагностичний апарат (ЭДАР), що дозволяє проводити дослідження як постійним, так і змінним струмом міської мережі. Схема апарату представлена на рис. 5. Напруга (127 або 220 В) подається через вимикач на потенціометр Р і на неонову індикаторну лампочку П. Потенціометр дозволяє плавно регулювати напругу на первинній обмотці трансформатора Т від 0 до 127 (220) В. При цьому напруга вторинної обмотки змінюється від 0 до 400 В (ефективних).

Рис. 5. Схема апарату для электроодонтодиагностики (ЭДАР).
Напруга підвищує обмотки випрямляється ламповим випрямлячем, фільтрується ємністю 2 mkF. Ємність фільтра зашунтирована опором 0,5 Мом для зменшення часу встановлення напруги при його зміні.
Випрямлена напруга подається на випробуваного по ланцюгу, що складається з перемикачів виду струму П1, П2, П3 ключа К, що дозволяє переривати струм в ланцюзі хворого, вимірювального приладу, що дає можливість відраховувати струми від 1 до 200 мкА і обмежуючого опору в 0,25+4,75+0,25+4,75 Мом.
Перемикач чутливості вимірювального приладу П4 має два положення. В одному положенні прилад має чутливість 50 мкА і загальне обмежує опір 10 Мом. У другому положенні прилад має чутливість 200 мкА і загальне обмежує опір 0,5 Мом. На виході є перемикач П5, що дозволяє змінювати полярність струму.
При роботі апарату на змінному струмі на досліджуваного подається напруга підвищує обмотки (через перемикач виду струму П1, П2, П3 в положенні «змінний струм», ключ До вимірювальний прилад і обмежує опір).
У серійному випуску апаратів різні заводи вносили в його конструкцію деякі зміни не принципового характеру.
Останнім часом медична промисловість почала випускати новий апарат для электроодонтодиагностики (ИВН-1), не вимагає заземлення і працює від мережі змінного струму частотою 50 Гц, напругою 127 і 220 В (рис. 6).

Рис. 6. Схема апарату ИВН-1.
Апарат дає на виході імпульсне напруга, що забезпечує в ланцюзі струм з наступними характеристиками: 1) частота повторення імпульсу - 0,5 Гц, 2) форма імпульсів - прямокутна, 3) амплітуда імпульсів автоматично змінюється від нуля до кінцевого значення в одному з трьох обраних діапазонів: 0-10 мкА, 0 - 50 мкА і 0-150 мкА. Апарат забезпечений пристроєм, що вимірює і фіксуючим амплітудне значення струму хворого з похибкою не більше 10% в момент фіксації показань і не більше 20% по закінченні 20 с.
В комплект апарату входять пасивний електрод у вигляді металевого циліндра, активний електрод з гумовим вкладишем і активний електрод у вигляді голки для дослідження з дна каріозної порожнини і з устя кореневого каналу (активні електроди фіксуються в спеціальному электродержателе).
Дезінфекцію активних електродів проводять кип'ятінням. Дезінфекцію электродержателя і пасивного електрода виробляють тільки шляхом обробки їх поверхні дезінфікуючими розчинами, що не є розчинниками гуми та полістиролу і не вимагають нагрівання.
Апарат змонтований в металевому ящику, на передній стінці якого розташовані вимикач мережі, перемикач діапазонів, ручка встановлення нуля вимірювального приладу. На задній стінці знаходиться перемикач мережі з запобіжником.
